전상현
(Sang Hyeon Jeon)
1iD
김문길
(Mun-Gil Kim)
2
천성철
(Sung-Chul Chun)
3†
김재열
(Jae Yeol Kim)
4
-
협성대학교 건축공학과 대학원생
(Graduate Student, Department of Architectural Engineering, Hyupsung University, Hwaseong
18274, Rep. of Korea)
-
인천대학교 건축학과 대학원생
(Graduate Student, Department of Architectural Design and Engineering, Incheon National
University, Incheon 22012, Rep. of Korea)
-
인천대학교 건축공학전공 부교수
(Associate Professor, Major of Architectural Engineering, Incheon National University,
Incheon 22012, Rep. of Korea)
-
협성대학교 건축공학과 교수
(Professor, Department of Architectural Engineering, Hyupsung University, Hwaseong
18274, Rep. of Korea)
Copyright © Korea Concrete Institute(KCI)
키워드
고전단 링앵커, 전단, 콘크리트파괴, 앵커철근
Key words
High-Shear Ring Anchor, shear, concrete breakout, anchor reinforcement
1. 서론
기존 철근콘크리트 구조물의 보강은 주로 후설치 앵커를 이용하여 새로운 보강 부재를 접합하여 이뤄진다. 보강 부재가 철근콘크리트이면 후설치 앵커를 통해
신구 콘크리트 사이에 요구되는 하중을 전달한다. 보강 부재가 강재로 제작되는 경우에도, 강재를 기존 철근콘크리트 구조물에 정확히 밀착시켜 시공할 수
없으므로, 보강 부재와 기존 구조물 사이에 콘크리트를 타설하는 방법(Fujii et al. 2009[4]; Ishimura et al. 2009[8]; Lee et al. 2015[12])이 활용되고 있다. 이러한 보강 공사에 사용된 신구 구조물 접합면에서는 주로 전단력이 전달된다.
후설치 앵커의 시공을 위해서는 천공 작업이 필요한데, 천공 작업의 시공성을 고려하여 주로 16 mm 이하 지름의 롯드(rod) 앵커가 많이 사용된다.
롯드 앵커는 시공이 단순하고 내력 평가방법(ACI 2014[1], KCI 2012[10])이 명확하여 많이 사용되고 있으나, 앵커의 강재파괴강도가 낮아 다수의 앵커가 필요하다.
후설치 앵커의 설치 개소 축소를 목적으로 전단강도를 향상시킨 고전단 링앵커(HRA)(INU et al. 2016[6])가 개발되었다. Fig. 1은 고전단 링앵커의 구성요소로, 단일 롯드(rod)에 강재 링(ring)을 추가한 형태이다. 강재 링은 주물로 제작되며, 지름 88 mm 높이 40
mm이며 신구 콘크리트에 각각 20 mm씩 설치된다. 링을 구성하는 모든 판의 두께는 4 mm이며 신설 콘크리트에 매립되는 링 내부에는 6개 리브가
설치된다. 강재 링으로 인해, 단일 롯드 앵커에 비해 고전단 링앵커는 높은 강도와 강성을 지닌다. 가력방향 연단거리에 영향을 받지 않는 단일 고전단
링앵커의 전단강도 실험(Chun et al. 2015[2]) 결과, 동일 지름의 롯드 앵커 대비 3배의 전단강도가 발현되었으며 측면피복두께에 따라 지압파괴 또는 측면파열파괴가 발생되었다. 실험결과를 통해
전단강도평가식이 개발되었다. 또한 다수 앵커에 대한 실험을 통해 개발된 평가식의 적용이 가능함을 확인하였다(Kim et al. 2016[9]).
Fig. 1. High-Shear Ring Anchor (INU et al. 2016)
기존에 개발된 전단강도평가식은 측면피복두께와 롯드의 묻힘깊이, 설치되는 부재의 콘크리트압축강도의 영향이 고려되어 있으나, 가력방향 연단거리는 고려되지
않았다. Fig. 2는 기존 철근콘크리트 벽체에 슬래브를 신설한 벽-슬래브 전단접합 개념도이다. Fig. 2(a)는 롯드 앵커를 사용한 방법으로, 롯드 앵커의 강재강도가 낮기 때문에 다수의 롯드앵커가 설치 되고 롯드 앵커 사이 간격을 확보하기 위하여 테두리보가
필요하다. 이 접합부에 Fig. 2(b)처럼 고전단 링앵커를 적용하면, 앵커 설치 개수를 1/3로 줄일 수 있어 테두리보를 생략할 수 있다. 테두리보를 없앰으로써 시스템 거푸집의 적용이
용이하고, 거푸집 작업이 단순화되어 공사비와 공기 절감을 기대할 수 있다.
Fig. 2. Connection between existing wall and new slab
이 경우 벽체에 후설치된 고전단 링앵커는 가력방향의 충분한 연단거리를 확보하기 때문에 기존 연구와 같이 지압파괴 또는 측면파열파괴가 발생되지만, 신설
슬래브에 선매립된 고전단 링앵커는 가력방향의 연단거리가 짧으므로 기존 연구의 파괴유형과 달리 전단을 받는 앵커의 콘크리트파괴(concrete breakout
failure)가 발생된다.
전단을 받는 롯드 앵커의 콘크리트파괴강도는 콘크리트 구조기준(KCI 2012[10]) II.5.2에 따라 산정할 수 있는데, 이 방법의 고전단 링앵커 적용 가능성을 검증할 필요가 있다. 또한 짧은 연단거리로 인해 콘크리트파괴강도
낮아질 우려가 있으므로, 앵커 설치 위치의 변경 또는 앵커철근(anchor reinforcement)의 배근으로 콘크리트파괴강도의 향상방안이 요구된다.
이 연구에서는 얇은 슬래브 측면에 선설치된 고전단 링앵커의 콘크리트파괴 거동을 실험적으로 평가하였다.
2. 전단을 받는 앵커의 콘크리트파괴 강도
Fig. 2(b)처럼 슬래브에 선설치된 고전단 링앵커는 전단력 작용방향의 연단거리가 짧기 때문에, Fig. 3의 콘크리트파괴가 발생된다. 콘크리트구조기준(KCI 2012[10])에서는 측면피복과 인접 앵커의 영향이 없는 전단을 받는 앵커의 콘크리트파괴강도를 식 (1)으로 산정한다. 식 (1)에서 콘크리트파괴강도는 앵커지름의 제곱근에 비례하는데, 일정 지름 이상에서는 이 관계가 성립하지 않기 때문에 ACI 318(2014)에서는 식 (1)의 상한으로 식 (2)를 규정하고 있다. 식 (2)를 이용하여 식 (1)에 사용가능한 최대 앵커지름을 산정하면 16.6 mm가 된다.
Fig. 3. Concrete breakout failure of anchors in shear
식 (1)과 식 (2)는 설계식으로 실험값의 평균에 5 % 분위수 안전율이 고려되어 있다(Fuchs et al 1995[5]). 안전율을 제외하고 전단을 받는 앵커의 평균 콘크리트파괴강도는 식 (3)로 산정할 수 있다(Fuchs et al 1995[5]).
여기서, $V_ {b}$는 기본 콘크리트파괴강도 (N), $l_ {e}$는 앵커가 지압을 받는 길이(mm)이고 8$d_ {a}$이하, $d_ {a}$는
앵커 지름 (mm), $\lambda_ {a}$는 경량콘크리트계수, $f_{ck}$는 콘크리트압축강도 (MPa), $c_ {a1}$은 앵커 중심에서부터
가력방향 연단거리(mm)이다.
이렇게 산정된 콘크리트파괴강도가 낮을 경우 앵커철근(anchor reinforcement)를 이용하여 강도를 향상시킬 수 있다. 콘크리트구조기준(KCI
2012[10]) II.5.2(9)에 따라 콘크리트파괴 예상면에 철근을 배치하면 식 (1)을 대체하여 앵커철근의 인장설계강도를 사용할 수 있다.
3. 실험 계획
얇은 슬래브 측면에 선설치된 고전단링앵커의 전단 거동을 살펴보고, 전단강도에 영향을 주는 인자를 평가하기 위하여 Fig. 4의 전단실험을 수행하였다.
슬래브 콘크리트가 타설되기 전에 고전단 링앵커가 선설치되었으며, 돌출된 강재 링에 강재 가력판을 끼우고 여기에 연결될 강봉을 센터홀 유압장비로 가력하였다.
가력 시 유압장비 중심과 슬래브의 반력 사이에 존재하는 편심 때문에 실험체 회전이 유발된다. 이 회전을 억제하기 위하여, 콘크리트 슬래브 하부를 가력면에
설치된 강재 프레임에 강봉으로 고정하였다.
하중은 센터홀 유압잭 전면에 연결된 로드셀로 계측하였다. 강재 가력판의 수평 변위를 좌우 2개소에서 측정하였다. 가력은 500 kN 용량의 센터홀
유압잭을 사용하였으며, 최대 내력에 도달한 후 최대 내력의 85 %로 하중이 저하될 때를 파괴로 정의하고 실험을 종료하였다.
실험변수는 슬래브 두께, 앵커 설치 위치, 앵커철근의 배치 유무로 선정하였다. Table 1에 실험체별 실험 변수를 정리하였다. 슬래브 두께는 사무실건물에 많이 사용되는 150mm와 무량판구조에 사용되는 210 mm로 하였다. 앵커 설치위치는
슬래브 단면 중앙에 설치되는 C실험체와 슬래브 하단면에 설치되는 L실험체로 선정하였다. 앵커가 슬래브 단면 중앙에 설치된 경우에 D13SD400 앵커철근을
보강한 R실험체도 추가하였다. 실험체 종류는 6가지이며 동일 실험체를 2개씩 제작하여 총 12개 실험을 수행하였다.
Table 1. Test matrix
|
Specimen
|
$h$ (mm)
|
$l_ {e}$ (mm)
|
$c_ {a1}$ (mm)
|
Anchor reinforcement
|
$V_ {bo}$ (kN)
|
|
h150-C
|
150
|
120
|
78
|
-
|
23.4
|
|
h150-L
|
105
|
36.6
|
|
h150-R
|
117
|
2HD13
|
43.1
|
|
h210-C
|
210
|
105
|
-
|
36.6
|
|
h210-L
|
165
|
72.1
|
|
h210-R
|
157
|
2HD13
|
66.9
|
실험체 상세는 Fig. 5과 같다. 콘크리트파괴 발생 영역에 반력점의 영향을 배제하기 위하여, 실험체 폭을 1,200 mm로 하였다. 롯드의 단부에 너트를 체결하고 묻힘깊이는
400 mm로 하여 인발파괴가 발생되지 않도록 설계하였다. 앵커철근 배근 모습을 Fig. 6에 보여주고 있다. 앵커 축 방향을 슬래브 주방향으로 가정하여 D10 SD400철근은 150 mm 간격으로 배치하고, 앵커 축 직각방향을 부방향으로
D10 SD400 배력철근을 200 mm 간격으로 배치하였다. 상하부 철근은 동일 간격으로 설계하였다.
Fig. 5. Details of specimens (Reinforcement of slab is invisible for clarity except
h150-C.) (Unit: mm)
Fig. 6. Anchor reinforcement
콘크리트 강도는 27 MPa로 설계하였으며, 롯드는 SS275강종을 사용하였다. Table 1에 식(3)에 따른 예상강도를 정리하였다. 앵커지름($d_ {a}$)은 강도 상한값 식(2)를 고려하여 16.6 mm를 대입하여 예상강도를 산정하였다. 앵커철근이 배근된 실험체의 예상강도는 콘크리트구조기준에 따라 앵커철근의 인장설계강도를
사용할 수 있다. 그러나 Fig. 5(c), (f) 도면을 보면, 앵커철근의 정착부에서 콘크리트파괴가 발생될 수 있다. 따라서 앵커철근이 배치된 실험체의 $c_ {a1}$은 앵커철근 정착부 갈고리
내면에서부터 가력방향 연단거리로 결정하였다. 이 값을 기준으로 식(3)에 따라 예상강도를 산정하여 Table 1에 정리하였다.
4. 실험 결과
4.1 재료시험 결과
실험일 콘크리트 표준 공시체 압축강도는 평균 33.6 MPa로 설계강도 27 MPa를 24 % 상회하였다. 공시체 3개의 응력-변형률 곡선을 Fig. 7에 나타내었다. 쪼갬인장강도시험 결과, 3개 공시체의 평균은 2.22 MPa였다. 시험에서 구한 쪼갬 인장강도는 콘크리트구조기준(KCI 2012[10])에서 사용하는 설계값 0.56$\sqrt{f_{c m}}$의 69 %로 낮았다.
Fig. 7. Stress-strain relations of concrete cylinders
앵커철근으로 사용된 SD400 D13의 재료시험 결과 항복강도는 444 MPa, 인장강도는 560 MPa로 KS D3504(KSA 2016[11])의 규격을 만족하였다. 탄성계수는 172,000 MPa로 계측되었다. 철근 인장시험에서 변형률은 전기저항식 게이지 2개를 동일단면에 마주보게 부착하여
측정하였는데, 변형률게이지 부착을 위한 표현 처리 과정에서 단면결손이 일부 발생되어 탄성계수가 낮게 산정된 것으로 판단된다. 시험에서 구한 D13
철근의 응력-변형률 곡선을 Fig. 8에 나타내었다.
Fig. 8. Stress-strain relations of D13 coupons
4.2 파괴 양상
가력판이 앵커 상부를 감싸고 있기 때문에, 최대 내력에 도달할 때까지 육안으로 특별한 손상은 관찰되지 않았다. 최대 내력에 도달한 후 앵커 중심에서
시작된 원추형 형태의 경사균열이 가력판 외부에서 관찰되었다. Fig. 9과 Fig. 10은 실험 종료 후 파괴 사진이다. 여기서, 그리드는 100 mm간격으로 표시하였으며, 실험체이름 마지막의 ‘-1’과 ‘-2’는 동일 실험체를 의미한다.
슬래브 두께, 앵커 설치 위치, 앵커철근의 유무와 무관하게 모두 콘크리트파괴가 발생되었다.
Fig. 9. Concrete breakout failure of h150-series
Fig. 10. Concrete breakout failure of h210-series
앵커철근이 배치되지 않은 실험체에서 균열은 롯드 중심위치의 링외부에서 시작하여 슬래브 상부면 방향으로 경사지게 발생하였다. 앵커철근이 배치된 실험체는
앵커철근 정착부 갈고리 부근에서 균열이 시작되었다. 콘크리트구조기준(KCI 2012[10]), Eligehausen et al.(2006)[3], Fuchs et al.(1995)[5]에서는 전단을 받는 앵커의 콘크리트 파괴면이 1:1.5 경사로 형성된다고 보고하였으나, 이 실험에서는 이보다 더 완만한 경사로 파괴되었다. 콘크리트
소성학(Nielsen 1998[13])에 의하면 콘크리트 압축강도 대비 인장강도 비율이 낮을수록 파괴각도가 완만해지는데, 이 연구에 사용된 콘크리트의 쪼갬인장강도/압축강도의 비율이 일반콘크리트
평균에 비해 낮기 때문으로 파괴가 완만한 것으로 판단된다.
대부분의 실험체에서 앵커의 양방향으로 균열이 모두 발생되었으며, h210-C-R-1실험체만 앵커 왼쪽면의 손상이 집중되었다. 앵커 중심에서 슬래브면의
직각방향으로 가력하였으나, 앵커 설치시 시공 오차 또는 가력축의 편심이 다소 발생된 것으로 판단된다.
4.3 전단력-변위 관계
강재 링의 수평변위와 하중과의 관계를 Fig. 11에 나타내었다. 수평변위는 앵커 좌우에 설치된 변위계 2개의 평균으로 표현하였다. 앵커철근이 배치되거나 연단거리가 멀수록 강도가 향상되었으며, 강성도
다소 증가되는 경향이 있으나 실험체별 강성 차이는 크지 않았다. 대부분 실험체에서 최대 내력 발현 후 하중이 서서히 감소되었으나, h210-L 실험체는
하중이 급격히 저하되었다. 콘크리트파괴는 콘크리트 인장강도에 지배되어 최대 내력 발현 후 잔존강도가 매우 낮지만 (KCI 2012[10], Eligehausen et al. 2006[3], Fuchs et al. 1995[5]), 슬래브 주철근의 현수작용으로 하중 저하가 완면한 것으로 판단된다.
Fig. 11. Load-displacement relation
고전단 링앵커는 강재 링과 콘크리트의 접촉면적이 넓고 강재 링의 전단강성이 높기 때문에 모든 실험체에서 최대 내력은 2 mm 변위 전에 발현되었다.
최대내력 발현 시 변위는 보강 용도에 따라 매우 중요한 의미를 갖는다. 신구 구조물 사이의 전단력 전달을 목적으로 앵커가 사용될 경우 신구 구조물의
일체 거동을 위해 작은 변위에서 강도 발현이 필요하다. 신구 구조물 사이의 전단력 전달을 위해 큰 변위 발생이 필요하다면, 신설 구조물이 외력에 저항하기
이전에 기존 구조물의 손상이 발생될 수 있기 때문이다. Japan Building Disaster Prevention Association(2009)[7]에서는 내진보강에 사용되는 전단연결재의 강도로 2 mm 변위 이내에서 발현된 강도만을 사용하도록 규정하고 있다. 고전단 링앵커는 강성 증대로 인해
작은 변위에서도 충분한 강도가 발현됨을 알 수 있다.
4.4 강도 평가
실험에서 계측된 최대 하중을 Table 2에 정리하였다. 실험종류별 동일 실험체 2개의 강도 차이는 거의 없었다. 실험일 콘크리트 강도를 반영한 식 (3)에 따른 콘크리트파괴강도($V_ {bo,a}$)를 Table 2에 나타내었으며, Fig. 12에 실험결과와 예측 강도를 비교하였다. 12개 실험체의 실험강도/예측강도 비의 평균은 1.11이며 변동계수는 13.2 %로 편차가 크지 않았다. 고전단
링앵커의 콘크리트파괴강도를 롯드 앵커 연구에서 개발된 평가식으로 산정할 수 있다고 판단된다.
Table 2. Test results
|
Specimen
|
$V_ {e}$ (kN)
|
$V_ {bo,a}$ (kN)
|
$V_ {e}$/$V_ {bo,a}$
|
|
HRA 1
|
HRA 2
|
HRA 1
|
HRA 2
|
|
h150-C
|
33.6
|
35.5
|
26.6
|
1.26
|
1.33
|
|
h150-L
|
45.6
|
49.1
|
41.5
|
1.10
|
1.18
|
|
h150-R
|
58.3
|
55.2
|
48.9
|
1.19
|
1.13
|
|
h210-C
|
39.9
|
39.3
|
41.5
|
0.96
|
0.95
|
|
h210-L
|
73.5
|
73.5
|
81.8
|
0.90
|
0.90
|
|
h210-R
|
88.8
|
90.7
|
75.9
|
1.17
|
1.19
|
* Notation: $V_ {e}$ is a measured load and $V_ {bo,a}$ is a predicted load by Eq. (3) with an measured concrete strength.
Fig. 12. Comparison of shear loads with predictions
Fig. 13은 앵커철근의 효과를 보여준다. D13 철근 1가닥을 강재 링에 감싸서 배근함으로써, 콘크리트파괴 영역을 크게 확장시켰다(Fig. 9와 Fig. 10). 이러한 파괴영역의 확대는 강도 증진으로 나타났으며, 앵커철근을 배치하지 않은 h150와 h210 실험체 대비 각각 64.3 %와 127 %의
증진효과가 나타났다. 슬래브 두께가 클수록 앵커철근 배치를 통해 파괴 영역의 증대가 용이하기 때문에 강도가 많이 증대되었다. 앵커철근이 배치된 실험체는
모두 식 (3)에 따른 예측값보다 높았으며 실험강도/예측강도 비의 평균은 1.17이였다.
Fig. 13. Effects of anchor reinforcement
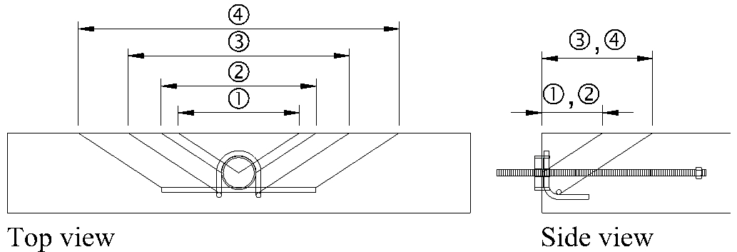
Fig. 14는 파괴면을 비교한 그림이다. 콘크리트구조기준(KCI 2012[10])에서 가정한 파괴면은 ①번처럼 앵커중심에서 1:1.5의 기울기로 형성된다. 앵커철근이 배근되지 않은 실험체의 실제 파괴는 ②번처럼 형성되었으며,
식 (1)과 식 (3)에서는 $\sqrt{d_{a}}$ 항으로 앵커지름효과가 반영된다. 그러나 식 (2)을 통해 $d_ {a}$의 상한값이 16.6 mm으로 제한되며, 이 상한값보다 큰 지름의 링을 사용한 고전단 링앵커 8개 실험체는 식 (3)에 의한 예상강도대비 평균 107.3 %의 강도가 발현되었다. 앵커철근이 배근된 실험체는 ③번 파괴면이 형성되며 앵커철근 정착부 갈고리에 직각으로
배근된 철근의 도움으로 ④번 파괴면으로 확장될 수도 있다. 앵커철근 배치를 통해 $c_ {a1}$의 증대뿐 아니라 슬래브 폭 방향으로 파괴 영역의
확대효과가 있기 때문에 식 (3)의 예측강도보다 17 % 높은 강도가 발현되었다. 앵커철근이 배치된 경우, 안전한 설계를 위하여, 정착부 갈고리 내면에서부터 가력방향 연단거리($c_
{a1}$)를 산정하고, 슬래브 폭 방향으로 파괴 영역확대는 고려하지 않는 것이 바람직하다.
Fig. 14. Failure surfaces
얇은 슬래브 측면에 설치된 고전단 링앵커에 앵커철근을 배치함으로써 콘크리트파괴강도를 효과적으로 향상시킬 수 있으며, 기존 롯드 앵커에서 개발된 평가식을
이용하여 안전하게 강도 평가가 가능하였다.
5. 결 론
얇은 슬래브 측면에 선설치된 고전단링앵커의 콘크리트 파괴 거동을 평가하기 위하여 슬래브 두께, 앵커 설치 위치, 앵커철근 유무를 변수로 전단 실험을
수행하였다. 연구 결과 다음의 결론을 얻었다.
1) 모든 실험체는 콘크리트파괴가 발생되었다. 앵커철근이 배치되지 않은 실험체에서 균열은 앵커 중심 위치의 링외부에서 시작하여 경사지게 발생하였다.
앵커철근이 배치된 실험체는 앵커철근 정착부 갈고리 부근에서 균열이 시작되어 앵커철근이 없는 동일 실험체에 비해 파괴 영역이 확대되었다.
2) 고전단 링앵커는 강재 링과 콘크리트의 접촉면적이 넓고 강재 링의 전단강성이 높기 때문에 2 mm 수평 변위 이전에 최대 내력이 발현되었다.
3) 앵커철근을 배치한 실험체의 강도는 앵커철근이 없는 h150, h210 실험체 대비 각각 64.3 %, 127 % 증가하였다. 앵커철근을 배치함으로써
가력방향 연단거리($c_ {a1}$)의 증대뿐 아니라 슬래브 폭 방향으로 파괴 영역의 확대 효과가 있었기 때문으로 판단된다.
4) 실험일 콘크리트압축강도를 사용한 평균 콘크리트파괴강도 예측식과 실험값을 비교한 결과, 실험강도/예측강도 비의 평균은 1.11, 변동계수를 13.2
%였다. 롯드 앵커에서 개발된 기존 평가식을 이용하여 안전하게 고전단 링앵커 강도 평가가 가능하였다.
감사의 글
본 논문은 중소벤처기업부에서 지원하는 2017년도 기술개발사업(No. C0535697)의 연구수행으로 인한 결과물임을 밝힙니다. 연구지원에 감사드립니다.
References
ACI Committee 318 , 2014, Building Code Requirements for Structural Concrete (ACI
318-14) and Commentary, ACI, Farmington Hills, Mich, USA, pp. 519

Chun S. C., Kim Y. H., Jeon S. H., Kim J. Y., Oh M. H., 2015, Evaluation on Shear
Strengths of Single High-Shear Ring Anchors, Journal of AIK, Vol. 31, No. 4, pp. 29-38

Eligehausen R., Mallee R., Silva J., 2006, Anchorage in Concrete Construction, Ernst
& Sohn (J. T. Wiley), Berlin, Germany, May, pp. 380

Fujii T., Sadasue K., Yokoyama T., Ishimura M., Minami K., 2009, Experimental Study
on application of Hybrid Seismic Strengthening Method for Existing RC Structure with
Low-Strength Concrete : Part 1 Test Plan of Indirect Connection Element, Proceedings
of Architectural Institute of Japan 2009, pp. 145-146

Fuchs W., Eligehausen R., Breen J. E., 1995, Concrete Capacity Design (CCD) Approach
for Fastening to Concrete, ACI Structural Journal, Vol. 92, No. 1, pp. 73-94

Incheon National University , SAMWOOIT , CheongWon Chemical Co. Ltd. , Dongyang Structural
Engineering & Rmodeling Co. Ltd. , 2016, Beam section enlargement method using socket
shaped anchor, Registered Patent in Korea, 10-1674823, pp. 29

Japan Building Disaster Prevention Association , 2009, Manual of Seismic Retrofit
with External Frame, pp. 138

Ishimura M., Sadasue K., Yokoyama T., Fujii T., Minami K., 2009, Experimental Study
on application of Hybrid Seismic Strengthening Method for Existing RC Structure with
Low-Strength Concrete: Part 2 Indirect Connection Element Test, Proceedings of Architectural
Institute of Japan 2009, pp. 147-148

Kim M. G., Chun S. C., Kim Y. H., Sim H. J., Bae M. S., 2016, Shear Strength Evaluation
on Multiple High-Shear Ring Anchors Using Shear Strength Model of a Single High-Shear
Ring Anchor, Journal of the Korea Concrete Institute, Vol. 28, No. 4, pp. 463-471

KCI , 2012, Concrete Design Code and Commentary. Seoul: Kimoondang Publishing Company,
Korea Concrete Institute, pp. 1-599

KSA , 2016, KS D3504; Steel Bars for Concrete Reinforcement. Korea: Korean Agency
for Technology and Standards, Korea Standard Association, pp. 1-31

Lee K. S., Jung J. S., Lee J. K., 2015, Seismic Performance Evaluation of Seismic
Strengthening Method using SRCF External Connection of Medium and Low-rise R/C Buildings,
Journal of the Korea Concrete Institute, Vol. 27, No. 2, pp. 147-155

Nielsen M. P., 1998, Limit Analysis and Concrete Plasticity, CRC Press, pp. 936
